Sponsors
×
[PR]上記の広告は3ヶ月以上新規記事投稿のないブログに表示されています。新しい記事を書く事で広告が消えます。
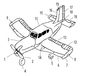
Major Components of an Aircraft
1. Propeller Spinner
2. Propeller
3. Engine cowling
4. Nose Wheel
5. Main landing gear
6. Leading edge of wing
7. Wing tip
8. Left position light (red)
9. Right position light (green)
10. Rear position light (white)
11. Fuselage
12. Aileron
13. Flap
14. Wing root
15. Horizontal Stabilizer
16. Vertical Stabilizer
17. Rudder
18. Elevator
19. Anti-collision light
Instrument Panel - The instuments may be divided into three categories; flight instruments, engine instruments, and navigation instruments.
Flight Instruments
Airspeed Indicator - This instrument indicates the aircraft's speed through the air. (miles per hour(mph) or knots(KT))
Altimeter - pressure sensitive instrument. indicates the height at which the aircraft is flying. When the aircraft is on the ground, the indication on the altimeter will be that of the elevation of the aerodrome.
Turn-and-Bank Indicator - The needle potion of this instrument indicates whether the aircraft is turning. The ball portion of the instrument is fundamentally a reference for co-ordination of controls. In all co-ordinated flight the ball will be centred in its curved glass tube.
Magnetic Compass - heading information. The compass points toward the magnetic north pole.
Heading Indicator - gyroscopic instrument has no magnetic qualities. must be set periodically by reference to the magnetic compass. free of error during turns, acceleration, and deceleration.
Attitude Indicator - gyroscopic instrument is an artificial horizon. The miniature aircraft superimposed on its face enables the pilot to determine the aircraft's attitude relative to the real horizon.
Vertical Speed Indicator - pressure sensitive instrument indicates the rate at which the aircraft is climbing or descrending, in feet per minute.
PR
